
產品名稱:Q61Y對焊式高壓硬密封球閥
產品標簽:球閥,對焊式高壓硬密封球閥
更新時間:2019/6/7 16:16:17
上一個產品: Q44F/Q45F不銹鋼三通球閥
下一個產品:QJ41M/F法蘭高溫球閥
在線訂購:在線訂購
產品詳情
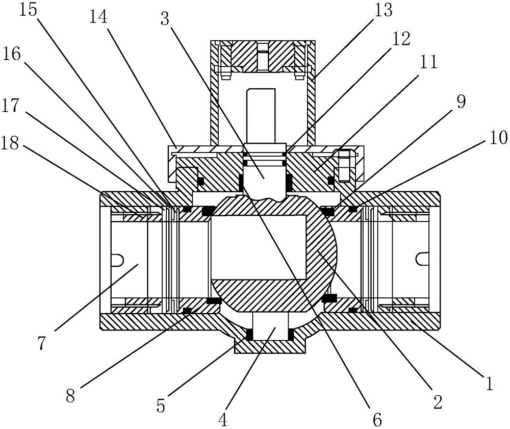
Q61Y對焊式高壓硬密封球閥產品概述:
1、耐高壓:壓力可達1.6Mpa-42Mpa ;Class:150-2500Lb
2、耐高溫:該球閥的閥座完全采用了美標閘閥的結構,因此溫度由閥體材料來決定
3、無摩擦:該球閥在開啟時利用二塊式球體的優點,先水平收攏瞬間脫離閥座,然后再旋轉90度全開
Q61Y對焊式高壓硬密封球閥主要零件材料
|
主要零件 |
閥體 |
A105 |
LF2 |
F304 |
F304L |
F316 |
F316L |
F51 |
|||
|
球體、閥桿 |
420 |
LF2 |
F304 |
F304L |
F316 |
F316L |
F51 |
||||
|
密封圈 |
特種硬化材料 |
||||||||||
|
|
|
||||||||||
|
填料、墊圈 |
柔性石墨環 柔性石墨纏繞墊 |
||||||||||
|
適用工況 |
適用介質 |
高溫的或含有顆粒等介質 |
|||||||||
|
適用溫度 |
-28-400℃ -28-500℃ |
||||||||||
|
應用規范 |
設計制造接 |
|
|||||||||
|
法蘭遲寸接 |
|
||||||||||
|
結構長度接 |
|
||||||||||
|
檢驗試驗接 |
|
||||||||||
![]() |
注:以上的產品介紹,參數,圖片,數據僅用于參考,如果需更準確的資料請咨詢公司技術服務熱線:18117208829





